)
Streambelt Plus
De snelle en eenvoudige veiligheidsgordel
Het dragen van een veiligheidsgordel is met een keuze voor de Streambelt Plus gegarandeerd. De Streambelt Plus is eenvoudig in gebruik. Met één simpele, snelle beweging klikt de chauffeur de gordel vast en weer los. Neem voor meer informatie contact met ons op!
De Streambelt Plus is eenvoudig te monteren aan de bestaande stoel en heftruck. Het meegeleverde gordelslot is voorzien van een switch waardoor de bestuurder niet kan wegrijden met de heftruck totdat de gordel is vastgemaakt. U kunt bij ons een keuze maken uit diverse gordelsloten. Lang, kort of juist extra flexibel. Wij hebben er diverse op voorraad en snel leverbaar.
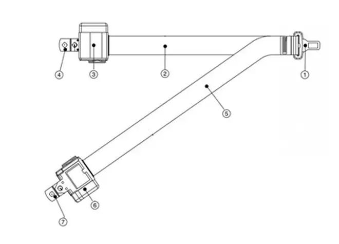
De Streambelt Plus bestaat uit verschillende onderdelen namelijk:
1. Gordeltong voor plaatsing in het gordelslot
2. Zwarte gordelband
3. Retractor Type ELR, Br4M
4. Montagestrip
5. Rode gordelband
6. Retractor
7. Montagestrip
Het bevestigen van de Streambelt Plus gaat als volgt:
Monteer de montagestrip (4) van de Streambelt Plus aan de rechterzijde van de stoel
Monteer de retractor (3) in een hoek van 32 º (+/- 10º)
Monteer het meegeleverde gordelslot aan de linkerzijde van de stoel
Monteer de montagestrip (7) aan de linker stijl van de cabine. Let op: montagemateriaal wordt niet meegeleverd). Zorg ervoor dat de retractor op de juiste hoogte wordt geplaatst zodat de gordel over het stuurwiel valt.
)
Linker kolom: Streambelt Plus is open
Rechter kolom: Streambelt Plus is gesloten
)
)
)
)
)
)
EBLO Seating B.V.5Dit is hoe het zou moeten zijn als je iets bestelt“ Ik ben helemaal tevreden, van het bestelproces tot de betaling, de ontvangst van de factuur en de levering van de goederen, alles was zoals je het zou willen. ”
EBLO Seating B.V.5Top Klantenservice“ Top Klantenservice. ”
EBLO Seating B.V.4Uitstekend advies en service“ Uitstekend advies en service, ik kocht een stoel voor een grasmaaier en het is een product van goede kwaliteit. Zou hier zo weer kopen. ”